Renishaw Break Stem M4 Silver Steel Crash Protection Device, L 15.2 mm, For TS27R only - A-5003-5171
Crash protection devices are designed to break when overtravel forces are exceeded and prior to any damage being caused to the probe. For use with the TS27R only. A stainless steel stem offers excellent rigidity and is ideal for applications where weight is not critical.
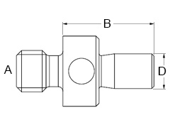
Specifications:

| Stem material | Silver steel KE108 |
| Class name | Break stems |
| Thread (A) | M4 |
| Length (B) | 15.2 mm |
| Stem dia (D) | 3.95 mm |
Click to See all Renishaw Styli
Click to download the Renishaw Technology Guide (PDF)
Break Stem
